Directe link
  • Conrad
  • Mijn account

    Inloggen / Registreren

  • Winkelwagen

  • Aanbiedingen › Aanbiedingen ›
  • Conrad Wereld
    Conrad - Your Sourcing Platform
    Aanbiedingen
    Nieuws en inspiratie
    Nieuwe producten
    Verkoper worden

    Eigen merken

    Toolcraft
    Voltcraft
    Tru components
    Renkforce
    Speaka professional
    Sygonix
  • Service

    Voor u uitgekozen services

    Status bestelling
    eProcurement
    Nieuwsbrief
    Garantie
    Cadeaukaart
    Onderwijsvoordeel
    Klantenservice

  • Inkoop

    Alles voor uw inkoop

    eProcurement
    Offertetool
    Orders op afroep
    Direct bestellen
    Product op aanvraag
    Business Plus
  • Onze producten
  • Mijn account
  • Verlanglijst
  • Uitloggen
Conrad
Start
Automatisering Automatisering Schakeltechniek Vermogensschakelaars

Siemens 3RV2011-0JA10 Vermogensschakelaar 1 stuk(s) Instelbereik (stroomsterkte): 0.7 - 1 A Schakelspanning (max.): 690

EAN:
Fabrikantnummer:
Artikelnummer:
Een zwarte en grijze Siemens-vermogensschakelaar met een draaiknop aan de voorkant, gebruikt voor het schakelen van elektrische circuits.
Een zwarte en grijze Siemens-vermogensschakelaar met een draaiknop aan de voorkant, gebruikt voor het schakelen van elektrische circuits.
Zicht op een productielocatie met een open schakelkast links en machines gezien door een regennat raam rechts. Hoogteconologische omgeving.
Accessoire-afbeelding van een schakeltoestel, toont verschillende modules en hun verbindingen, genummerd van 1 tot 8, omvat hulpschakelaars, spanningsuitlopers en scheidingsschakelaars.
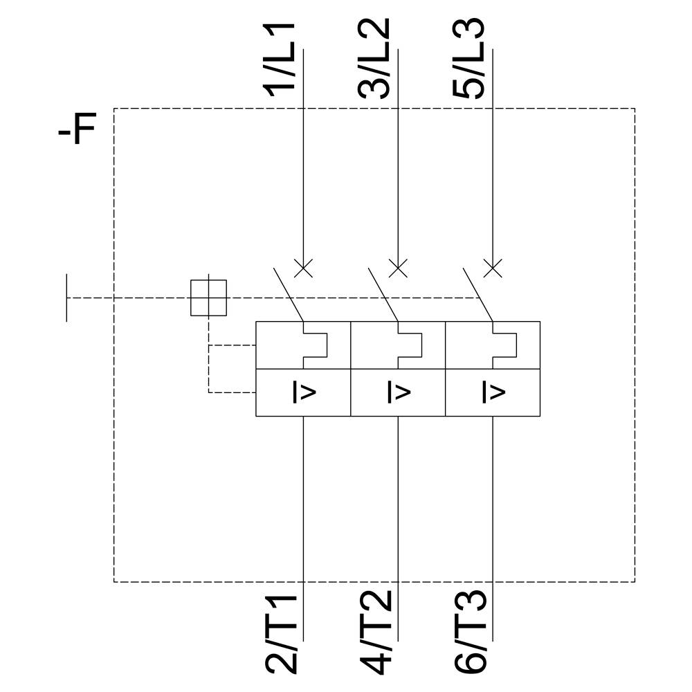
Schakelschema toont een driefasige vermogensautomaat met de aanduidingen 1/L1, 3/L2, 5/L3, en 2/T1, 4/T2, 6/T3.
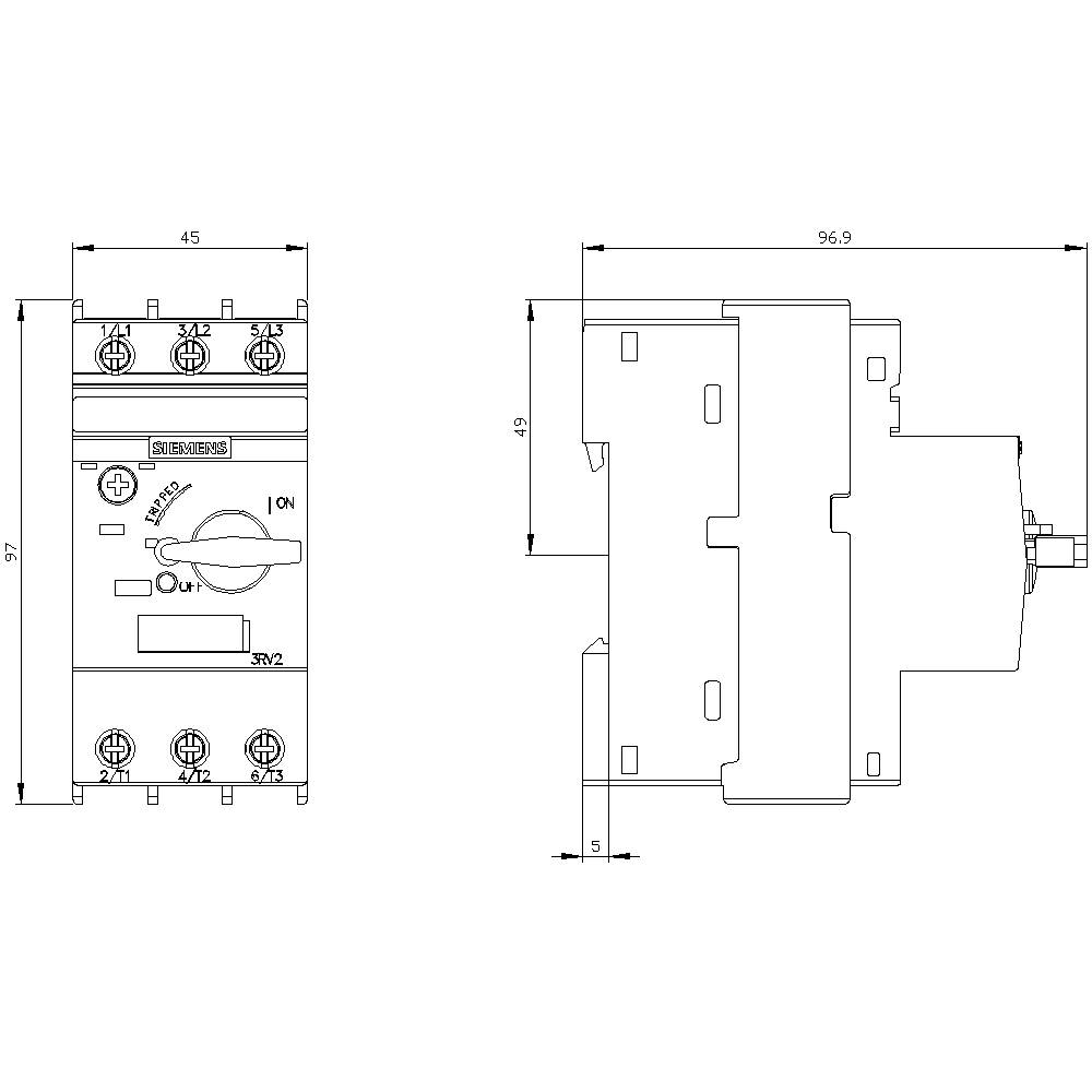
Technische tekening van een elektrische schakelaar met maatvoering. Toont voor- en zijaanzicht met een schaal in millimeters.
'Siemens 3RV2 vermogensschakelaar' met schakelaarpositieaanduidingen voor 'AAN', 'GEACTIVEERD', 'UIT' en aansluitklemmen boven en onder.
1/6
Afbeelding vergelijkbaar
Soortnaam
Vermogensschakelaar
Instelbereik stroomsterkte (max.)
1 A
Type
3RV2011-0JA10
Bouwgrootte
S00
Stuurspanningsbereik
Datasheet (PDF)
Deutsch (Deutschland)
Siemens
 

6 Stuk(s)
Verkoop en verzending:
intos GmbH (NL) Algemene voorwaarden

Aantal

Totaal
€
Slechts 6 stuks beschikbaar
U heeft al het beste aanbod voor uw hoeveelheid.
Ons aanbod voor u (Prijzen voor 1 Stuk(s))
Conrad Electronic
Algemene voorwaarden & Herroepingsrecht
 

4 Stuk(s)

Gratis verzending*
Ons aanbod
€ 64,45

€

excl. btw
Juridisch probleem melden
  • +3500 merken

  • +1.900.000 producten

  • +85.000 zakelijke klanten

  • Gratis inkoopoplossingen

  • Scherpe offertes op maat

  • Klantenservice

  • Bestellen

  • Betalen

  • Garantie & retour

  • Alle onderwerpen

  • * Voorwaarden gratis levering

  • Over Conrad

  • Conrad Your Sourcing Platform

  • Nieuws & Inspiratie

  • Milieubewust ondernemen

  • ISO-certificering

  • Vulnerability Disclosure Program

  • REACH documenten

  • Informatie over toegankelijkheid

  • Conrad Diensten

  • Offerte aanvragen

  • e-Procurement

  • Business Plus

  • Gekalibreerd assortiment

  • Snel vinden

  • Merken A-Z

  • Categorieën A-Z

  • Actuele aanbiedingen 🛒

  • Download Center

  • Vacatures

Nieuwsbrief

Meld u aan voor de nieuwsbrief en ontvang 10% korting* op uw eerstvolgende bestelling, zonder minimaal bestelbedrag.

Meld u aan voor de nieuwsbrief en ontvang 10% korting* op uw eerstvolgende bestelling, zonder minimaal bestelbedrag.

Voer een geldig e-mail adres in

Nieuwsbrief

Meld u aan voor de nieuwsbrief en ontvang 10% korting* op uw eerstvolgende bestelling, zonder minimaal bestelbedrag.

Meld u aan voor de nieuwsbrief en ontvang 10% korting* op uw eerstvolgende bestelling, zonder minimaal bestelbedrag.

Voer een geldig e-mail adres in

Nieuwsbrief

Meld u aan voor de nieuwsbrief en ontvang 10% korting* op uw eerstvolgende bestelling, zonder minimaal bestelbedrag.

Meld u aan voor de nieuwsbrief en ontvang 10% korting* op uw eerstvolgende bestelling, zonder minimaal bestelbedrag.

Voer een geldig e-mail adres in

Beveiligingsweken
* 15% korting op Reolink en geselecteerde Sygonix artikelen. 10% korting op Abus artikelen. Geldig t/m 26-4-2026 en alleen voor artikelen mét voorraad. Verder gelden de voorwaarden actiecodes.

Betaalmethoden
  • iDeal
  • Creditcard
  • Automatische incasso
  • Op rekening
Alle betaalmethoden
Social Media

Weergave van alle prijzen excl. btw en excl. verzendkosten.

Weergave van alle prijzen incl. btw en excl. verzendkosten.

  • Gegevensbescherming

  • Veilige betaalmiddelen

  • SSL-versleuteling

  • Geverifieerde Visa & Mastercard veilige code

  • Algemene voorwaarden

  • Impressum

  • Privacy policy

  • Herroepingsrecht

Productvergelijking
Verlanglijst