Directe link
  • Conrad
  • Mijn account

    Inloggen / Registreren

  • Winkelwagen

  • Aanbiedingen › Aanbiedingen ›
  • Conrad Wereld
    Conrad - Your Sourcing Platform
    Aanbiedingen
    Nieuws en inspiratie
    Nieuwe producten
    Verkoper worden

    Eigen merken

    Toolcraft
    Voltcraft
    Tru components
    Renkforce
    Speaka professional
    Sygonix
  • Service

    Voor u uitgekozen services

    Status bestelling
    eProcurement
    Nieuwsbrief
    Garantie
    Cadeaukaart
    Onderwijsvoordeel
    Klantenservice

  • Inkoop

    Alles voor uw inkoop

    eProcurement
    Offertetool
    Orders op afroep
    Direct bestellen
    Product op aanvraag
    Business Plus
  • Onze producten
  • Mijn account
  • Verlanglijst
  • Uitloggen
Conrad
Start
Automatisering Automatisering Schakeltechniek Contactoren

Siemens 3RT2028-1BF40 Contactor 3x NO 690 V/AC 1 stuk(s)

EAN:
Fabrikantnummer:
Artikelnummer:
Een elektronisch onderdeel met het logo 'Siemens' en de opdruk 'SIRIUS', vermoedelijk een relais of contactor voor elektrische toepassingen.
Een elektronisch onderdeel met het logo 'Siemens' en de opdruk 'SIRIUS', vermoedelijk een relais of contactor voor elektrische toepassingen.
Binnenkant van een machinebehuizing met bedrade schakelingen links en een industrieel apparaat zichtbaar door een regennat raam rechts.
Exploded view van een elektrisch schakelsysteem met gelabelde onderdelen, verbindingen en functies. Bevat contactoren, hulpcontacten en functionele eenheden.
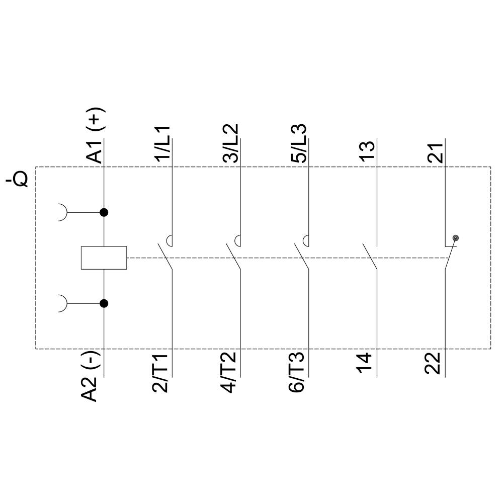
Schakelpschema van een elektrisch relais met genummerde aansluitingen: A1 (+), A2 (-), 1/L1, 3/L2, 5/L3, 2/T1, 4/T2, 6/T3, 13, 14, 21, 22.
Technische tekening van een SIRIUS 3RQ1 relais. Toont vooraanzicht, zijaanzicht en bovenaanzicht met afmetingen in millimeters.
Een diagram van een Siemens SIRIUS schakelaar, toont de aansluitingen voor L1/L2/L3, A1/A2 en de schakelcontacten 13NO, 14NC, met serienummer 3RT20.
1/6
Afbeelding vergelijkbaar
Soortnaam
Contactor
Aantal polen
3-polig
Nominale spanning
690 V/AC
Aansluiting
Schroeven
Type
3RT2028-1BF40
Datasheet (PDF)
Deutsch (Deutschland)
Siemens
Leverbaarvr. 17 apr.


Aantal

Totaal
€ 235,54
excl. btw 
Gratis verzending*
Juridisch probleem melden
  • +3500 merken

  • +1.900.000 producten

  • +85.000 zakelijke klanten

  • Gratis inkoopoplossingen

  • Scherpe offertes op maat

  • Klantenservice

  • Bestellen

  • Betalen

  • Garantie & retour

  • Alle onderwerpen

  • * Voorwaarden gratis levering

  • Over Conrad

  • Conrad Your Sourcing Platform

  • Nieuws & Inspiratie

  • Milieubewust ondernemen

  • ISO-certificering

  • Vulnerability Disclosure Program

  • REACH documenten

  • Informatie over toegankelijkheid

  • Conrad Diensten

  • Offerte aanvragen

  • e-Procurement

  • Business Plus

  • Gekalibreerd assortiment

  • Snel vinden

  • Merken A-Z

  • Categorieën A-Z

  • Actuele aanbiedingen 🛒

  • Download Center

  • Vacatures

Nieuwsbrief

Meld u aan voor de nieuwsbrief en ontvang 10% korting* op uw eerstvolgende bestelling, zonder minimaal bestelbedrag.

Meld u aan voor de nieuwsbrief en ontvang 10% korting* op uw eerstvolgende bestelling, zonder minimaal bestelbedrag.

Voer een geldig e-mail adres in

Nieuwsbrief

Meld u aan voor de nieuwsbrief en ontvang 10% korting* op uw eerstvolgende bestelling, zonder minimaal bestelbedrag.

Meld u aan voor de nieuwsbrief en ontvang 10% korting* op uw eerstvolgende bestelling, zonder minimaal bestelbedrag.

Voer een geldig e-mail adres in

Nieuwsbrief

Meld u aan voor de nieuwsbrief en ontvang 10% korting* op uw eerstvolgende bestelling, zonder minimaal bestelbedrag.

Meld u aan voor de nieuwsbrief en ontvang 10% korting* op uw eerstvolgende bestelling, zonder minimaal bestelbedrag.

Voer een geldig e-mail adres in

Geselecteerde kantoorartikelen
* Deze kortingsactie geldt t/m 5-4-2026 en alleen voor geselecteerde kantoorartikelen. Verder gelden de voorwaarden actiecodes.

Betaalmethoden
  • iDeal
  • Creditcard
  • Automatische incasso
  • Op rekening
Alle betaalmethoden
Social Media

Weergave van alle prijzen excl. btw en excl. verzendkosten.

Weergave van alle prijzen incl. btw en excl. verzendkosten.

  • Gegevensbescherming

  • Veilige betaalmiddelen

  • SSL-versleuteling

  • Geverifieerde Visa & Mastercard veilige code

  • Algemene voorwaarden

  • Impressum

  • Privacy policy

  • Herroepingsrecht

Productvergelijking
Verlanglijst