Directe link
  • Conrad
  • Mijn account

    Inloggen / Registreren

  • Winkelwagen

  • Aanbiedingen › Aanbiedingen ›
  • Conrad Wereld
    Conrad - Your Sourcing Platform
    Aanbiedingen
    Nieuws en inspiratie
    Nieuwe producten
    Verkoper worden

    Eigen merken

    Toolcraft
    Voltcraft
    Tru components
    Renkforce
    Speaka professional
    Sygonix
  • Service

    Voor u uitgekozen services

    Status bestelling
    eProcurement
    Nieuwsbrief
    Garantie
    Cadeaukaart
    Onderwijsvoordeel
    Klantenservice

  • Inkoop

    Alles voor uw inkoop

    eProcurement
    Offertetool
    Orders op afroep
    Direct bestellen
    Product op aanvraag
    Business Plus
  • Onze producten
  • Mijn account
  • Verlanglijst
  • Uitloggen
Conrad
Start
Automatisering Automatisering Schakeltechniek Contactoren

Siemens 3RT2017-2JB42 Vermogensbeveiliging 3x NO 690 V/AC 1 stuk(s)

EAN:
Fabrikantnummer:
Artikelnummer:
Een zwarte elektrocontactor van het merk 'Siemens Sirius', model 3RT2015, voor de besturing van elektrische systemen. Compacte constructie.
Een zwarte elektrocontactor van het merk 'Siemens Sirius', model 3RT2015, voor de besturing van elektrische systemen. Compacte constructie.
Een kast met elektrische componenten links en een met regen bedekte glasplaat rechts, waardoor productiefaciliteiten zichtbaar zijn.
Afbeelding toont verschillende schutters en verbindingselementen met genummerde details. Beschrijving legt functie en inbouwopties uit.
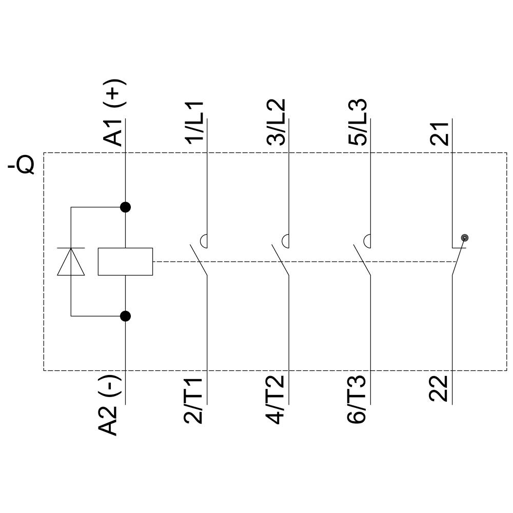
Schakelschema van een elektrische kring met schakelaars en diodes. Gelabeld met A1 (+), A2 (-), 1/L1, 3/L2, 5/L3, 2/T1, 4/T2, 6/T3, 21, 22.
Technische tekening van een elektronisch component met afmetingen: breedte 45 mm, diepte 73 mm. Zij- en vooraanzicht inbegrepen.
Een schakelschema van een Siemens SIRIUS 3RT20 contactor. Toont aansluitklemmen 1/L1, 3/L2, 5/L3, 21NC en A1+ evenals andere relevante poorten.
1/6
Afbeelding vergelijkbaar
Soortnaam
Vermogensbeveiliging
Aantal polen
3-polig
Nominale spanning
690 V/AC
Aansluiting
Trekveeraansluiting
Type
3RT2017-2JB42
Datasheet (PDF)
Siemens
Leverbaarwo. 22 apr.


Aantal

Totaal
€ 80,98
-6 %
€ 76,02
excl. btw 
Gratis verzending*
Juridisch probleem melden
  • +3500 merken

  • +1.900.000 producten

  • +85.000 zakelijke klanten

  • Gratis inkoopoplossingen

  • Scherpe offertes op maat

  • Klantenservice

  • Bestellen

  • Betalen

  • Garantie & retour

  • Alle onderwerpen

  • * Voorwaarden gratis levering

  • Over Conrad

  • Conrad Your Sourcing Platform

  • Nieuws & Inspiratie

  • Milieubewust ondernemen

  • ISO-certificering

  • Vulnerability Disclosure Program

  • REACH documenten

  • Informatie over toegankelijkheid

  • Conrad Diensten

  • Offerte aanvragen

  • e-Procurement

  • Business Plus

  • Gekalibreerd assortiment

  • Snel vinden

  • Merken A-Z

  • Categorieën A-Z

  • Actuele aanbiedingen 🛒

  • Download Center

  • Vacatures

Nieuwsbrief

Meld u aan voor de nieuwsbrief en ontvang 10% korting* op uw eerstvolgende bestelling, zonder minimaal bestelbedrag.

Meld u aan voor de nieuwsbrief en ontvang 10% korting* op uw eerstvolgende bestelling, zonder minimaal bestelbedrag.

Voer een geldig e-mail adres in

Nieuwsbrief

Meld u aan voor de nieuwsbrief en ontvang 10% korting* op uw eerstvolgende bestelling, zonder minimaal bestelbedrag.

Meld u aan voor de nieuwsbrief en ontvang 10% korting* op uw eerstvolgende bestelling, zonder minimaal bestelbedrag.

Voer een geldig e-mail adres in

Nieuwsbrief

Meld u aan voor de nieuwsbrief en ontvang 10% korting* op uw eerstvolgende bestelling, zonder minimaal bestelbedrag.

Meld u aan voor de nieuwsbrief en ontvang 10% korting* op uw eerstvolgende bestelling, zonder minimaal bestelbedrag.

Voer een geldig e-mail adres in

Betaalmethoden
  • iDeal
  • Creditcard
  • Automatische incasso
  • Op rekening
Alle betaalmethoden
Social Media

Weergave van alle prijzen excl. btw en excl. verzendkosten.

Weergave van alle prijzen incl. btw en excl. verzendkosten.

  • Gegevensbescherming

  • Veilige betaalmiddelen

  • SSL-versleuteling

  • Geverifieerde Visa & Mastercard veilige code

  • Algemene voorwaarden

  • Impressum

  • Privacy policy

  • Herroepingsrecht

Productvergelijking
Verlanglijst