Directe link
  • Conrad
  • Mijn account

    Inloggen / Registreren

  • Winkelwagen

  • Aanbiedingen › Aanbiedingen ›
  • Conrad Wereld
    Conrad - Your Sourcing Platform
    Aanbiedingen
    Nieuws en inspiratie
    Nieuwe producten
    Verkoper worden

    Eigen merken

    Toolcraft
    Voltcraft
    Tru components
    Renkforce
    Speaka professional
    Sygonix
  • Service

    Voor u uitgekozen services

    Status bestelling
    eProcurement
    Nieuwsbrief
    Garantie
    Cadeaukaart
    Onderwijsvoordeel
    Klantenservice

  • Inkoop

    Alles voor uw inkoop

    eProcurement
    Offertetool
    Orders op afroep
    Direct bestellen
    Product op aanvraag
    Business Plus
  • Onze producten
  • Mijn account
  • Verlanglijst
  • Uitloggen
Conrad
Start
Automatisering Automatisering Schakeltechniek Contactoren

Siemens 3RT2015-4BB41 Vermogensbeveiliging 3x NO 690 V/AC 1 stuk(s)

EAN:
Fabrikantnummer:
Artikelnummer:
Siemens 3RT2015-4BB41 Vermogensbeveiliging 3x NO 690 V/AC 1 stuk(s)-0
Siemens 3RT2015-4BB41 Vermogensbeveiliging 3x NO 690 V/AC 1 stuk(s)-0
Een elektrische schakelaar, rechthoekig en zwart/grijs, met vijf aansluitklemmen bovenaan en meerdere schakelaars aan de voorkant.
Een elektrische schakelkast links in het beeld, met open deuren waarachter bekabelde stuurtechniek zichtbaar is. Rechts een blauw gekleurde industriemachine, gedeeltelijk verborgen achter een raam met regendruppels.
Schakelschema toont verschillende schakelaars en toebehooronderdelen met genummerde pijlen ter illustratie van de aansluitstappen en montage-instructies.
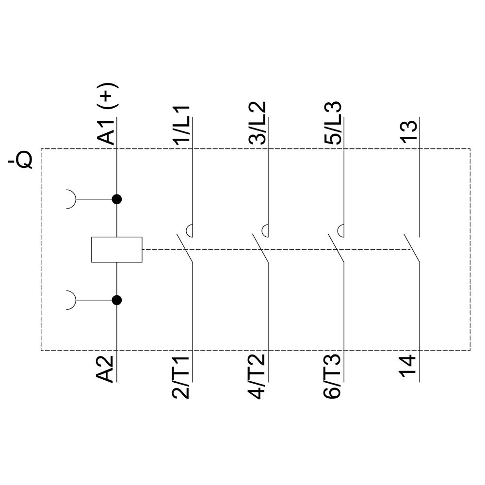
Bedradingsschema van een elektrische schakelaar met zes aansluitklemmen: A1 (+), A2, 1/L1, 2/T1, 3/L2, 4/T2, 5/L3, 6/T3, 13, 14.
Technische tekening van een relais met afmetingen. Toont voor-, zij- en bovenaanzicht met gedetailleerde maten in millimeters.
Afbeelding van een elektrisch schakelapparaat met het opschrift 'SIRIUS 3RT20'. Toont aansluitklemmen, leidingen en stuuringangen.
1/7
Soortnaam
Vermogensbeveiliging
Aantal polen
3-polig
Nominale spanning
690 V/AC
Aansluiting
Ringkabelschoenaansluiting
Type
3RT2015-4BB41
Datasheet (PDF)
Deutsch (Deutschland)
Siemens
Niet beschikbaar

Bekijk alternatieven

Totaal
€ 44,62
excl. btw 
Juridisch probleem melden
  • +3500 merken

  • +1.900.000 producten

  • +85.000 zakelijke klanten

  • Gratis inkoopoplossingen

  • Scherpe offertes op maat

  • Klantenservice

  • Bestellen

  • Betalen

  • Garantie & retour

  • Alle onderwerpen

  • * Voorwaarden gratis levering

  • Over Conrad

  • Conrad Your Sourcing Platform

  • Nieuws & Inspiratie

  • Milieubewust ondernemen

  • ISO-certificering

  • Vulnerability Disclosure Program

  • REACH documenten

  • Informatie over toegankelijkheid

  • Conrad Diensten

  • Offerte aanvragen

  • e-Procurement

  • Business Plus

  • Gekalibreerd assortiment

  • Snel vinden

  • Merken A-Z

  • Categorieën A-Z

  • Actuele aanbiedingen 🛒

  • Download Center

  • Vacatures

Nieuwsbrief

Meld u aan voor de nieuwsbrief en ontvang 10% korting* op uw eerstvolgende bestelling, zonder minimaal bestelbedrag.

Meld u aan voor de nieuwsbrief en ontvang 10% korting* op uw eerstvolgende bestelling, zonder minimaal bestelbedrag.

Voer een geldig e-mail adres in

Nieuwsbrief

Meld u aan voor de nieuwsbrief en ontvang 10% korting* op uw eerstvolgende bestelling, zonder minimaal bestelbedrag.

Meld u aan voor de nieuwsbrief en ontvang 10% korting* op uw eerstvolgende bestelling, zonder minimaal bestelbedrag.

Voer een geldig e-mail adres in

Nieuwsbrief

Meld u aan voor de nieuwsbrief en ontvang 10% korting* op uw eerstvolgende bestelling, zonder minimaal bestelbedrag.

Meld u aan voor de nieuwsbrief en ontvang 10% korting* op uw eerstvolgende bestelling, zonder minimaal bestelbedrag.

Voer een geldig e-mail adres in

Geselecteerde kantoorartikelen
* Deze kortingsactie geldt t/m 5-4-2026 en alleen voor geselecteerde kantoorartikelen. Verder gelden de voorwaarden actiecodes.

Betaalmethoden
  • iDeal
  • Creditcard
  • Automatische incasso
  • Op rekening
Alle betaalmethoden
Social Media

Weergave van alle prijzen excl. btw en excl. verzendkosten.

Weergave van alle prijzen incl. btw en excl. verzendkosten.

  • Gegevensbescherming

  • Veilige betaalmiddelen

  • SSL-versleuteling

  • Geverifieerde Visa & Mastercard veilige code

  • Algemene voorwaarden

  • Impressum

  • Privacy policy

  • Herroepingsrecht

Productvergelijking
Verlanglijst